0引言 隨著環保和能源雙重壓力的加重,水性涂料以其在生產、運輸和施工過程中的低能耗、低成本和低voc排放等特點而成為新型涂料發展的重點之一。水性聚氨酯(pu)涂料具有獨特的兩相結構而擁有良好的柔韌性、對基材的粘附性以及優異的抗劃傷性和拉伸性,但耐候性、機械強度、涂料的固含量、自增稠性以及涂膜的光澤等性能不足;而聚丙烯酸酯(pa)乳液在這方面恰恰表現優異。因此,聚氨酯-丙烯酸酯(pua)乳液具有兩者的共同優點而彌補了雙方的不足,國內外學者已經大量研究了pua乳液的合成方法和乳液性能以及涂膜性能[1-3]。 在含氟化合物中,氟原子與碳原子之間形成的c—f鍵的鍵能大、氟原子的電子云對c—c鍵的屏蔽作用很強。由此含氟化合物具有優異的低表面能、耐水性、耐油性、潤滑性、耐熱性、耐化學品性以及耐沾污性和良好的生物相容性。因此,氟的引入可以大幅度改善涂膜的表面性能,從而很大程度地提高了涂料的品質。氟化聚氨酯-丙烯酸酯(fpua)乳液在其自身優異的性能的基礎上又被賦予了獨特的耐水性、耐油性和耐沾污性,已經成為新一代pua乳液的發展代表。 1fpua乳液的結構特征 目前已見報道的氟化聚氨酯-丙烯酸酯乳液的結構均有如下的特點:即親水基團由聚氨酯鏈段引入,而氟鏈段則由含氟丙烯酸酯(fa)引入,這樣制備的fpua乳液粒子均為丙烯酸酯/聚氨酯(a/u)型結構,即殼部分由親水性的聚氨酯鏈段組成,而核部分則由疏水的丙烯酸酯鏈段組成。從聚氨酯鏈段和丙烯酸酯鏈段的結構關系來看,可以分為共聚型和非共聚型兩類。 制備共聚型fpua乳液的方法主要為首先制備大分子單體。大分子單體的結構有兩種,一種是含有多羥基結構,可以作為多元醇與二異氰酸酯化合物發生縮聚反應;另一種則是含有不飽和活性雙鍵結構,可以作為乙烯基類單體發生自由基共聚合。 hyejinlim等人[4]用1,1,2,2-四氫丙烯酸十七氟癸酯(c 陳建兵等人[5]利用aibn作為引發劑,巰基乙醇作為鏈轉移劑在乙酸乙酯的存在下,以氮氣保護使丙烯酸丁酯、丙烯酸乙酯、甲基丙烯酸十二氟庚酯發生自由基溶液共聚合,得到一端有—oh基封端的氟化大分子單體,結構式為:
氟化聚氨酯- 丙烯酸酯乳液研究進展 然后在一定溫度下加入異佛爾酮二異氰酸酯(ipdi),聚環氧乙烷二元醇(mn=2000),dmpa,n-甲基吡咯烷酮(nmp)發生縮聚反應。 minjiang等[6]則利用甲基丙烯酸羥乙酯制備了另一種結構的不含氟基團的大分子單體。他們首先采用ipdi、dmpa、數均相對分子量為1179的聚己二酸乙二酯進行縮聚,隨后加入甲基丙烯酸羥乙酯,甲醇封端并用三乙胺(tea)中和,最后水分散成部分丙烯酸酯封端的具有活性不飽和雙鍵結構的陰離子型水性pu大分子單體:
氟化聚氨酯- 丙烯酸酯乳液研究進展 隨后與丙烯酸六氟丁酯和aibn進行自由基共聚合,形成氟化pua,結構如下:
氟化聚氨酯- 丙烯酸酯乳液研究進展 汪江節等人[7]則采用類似于minjiang的方法,首先由ip2di、聚環氧丙烷二元醇、dmpa發生縮聚反應,得到異氰酸酯基(—nco)封端的預聚物,然后用計量的乙醇和少量丙烯酸羥乙酯封端,再用tea中和,水分散成水性pu乳液,然后再向乳液中加入丙烯酸丁酯和甲基丙烯酸六氟丁酯,以過硫酸鉀為引發劑,巰基乙醇為鏈轉移劑,在氮氣的保護下發生自由基共聚,最終合成出具有核殼結構特征的pua復合乳液。 ligh等人[8]報道了一種非共聚型的fpua乳液的合成。首先用2,4-甲苯二異氰酸酯(2,4-tdi)、聚酯多元醇、n-甲基二乙醇胺為親水擴鏈劑,三羥甲基丙烷作為交聯劑,制備了交聯型水性pu分散體,隨后應用轉相聚合方法,以上述制備的pu分散體為媒介,由苯乙烯、丙烯酸丁酯、2,2,3,4,4,4-六氟甲基丙烯酸丁酯在過氧化二苯甲酰(bpo)的引發下,合成了固含量為30%的水性陽離子型氟化pua復合分散體。 2fpua乳液的合成工藝 2.1自由基共聚合-逐步聚合-水分散流程 該法的主要流程圖如圖1所示。 hyejinlim等人[4]和陳建兵等人[5]采用的就是這種工藝。在這種工藝中鏈轉移劑起到了重要的作用,它的作用是使氟化大分子單體獲得羥基,并可控制自由基共聚合產物的相對分子質量。
圖1 自由基共聚合-逐步聚合-水分散流程圖 此法的特征是在自由基聚合階段和逐步聚合階段均采用了溶液聚合方法。 2.2逐步聚合-水分散-自由基共聚合流程 該法來源于傳統pua乳液聚合工藝,傳統pua乳液制備工藝中的種子乳液聚合法,原位乳液聚合法等均屬于此流程,該法的流程如圖2。
圖2 逐步聚合-水分散-自由基共聚合流程圖 minjiang等人[6]和汪江節等人[7]即采用了此種工藝。兩者均是在水分散后加入乙烯基單體和相應的引發劑進行自由基共聚合,這也即是傳統pua乳液聚合工藝中的種子乳液聚合法。而相應的,改變乙烯基單體的投料時機,在中和階段,乙烯基單體與中和劑一起加入,則屬于中和乳液聚合法[9];更早地,在逐步聚合階段即加入乙烯基單體代替正常的有機溶劑,即成為原位乳液聚合法[10]。該法的特點是在逐步聚合階段用的溶液聚合方法,在自由基共聚合階段用的是乳液聚合方法。如果在逐步聚合階段沒有加入具有羥基的丙烯酸酯,那么逐步聚合的產物就是—nco封端的預聚體,不是含有不飽和雙鍵的親水性大分子單體,最終制備的就是非共聚型fpua乳液。 2.3逐步聚合-自由基共聚合-水分散流程 該法即為傳統pua乳液聚合工藝中所謂的轉相聚合法[10]。流程圖如圖3。 ligh等人[8]即采用了這種聚合流程制備了fpua乳液。這種聚合工藝的特征同樣是逐步聚合和自由基共聚合階段均實施的是溶液聚合方法,只不過順序發生了變化。如果想制備共聚型fpua乳液,則需要在逐步聚合階段加入具有羥基的丙烯酸酯。此種工藝制備的傳統共聚型pua乳液早有報道,但是相應的fpua乳液的制備沒有文獻敘述。
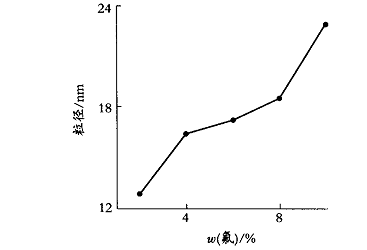
圖3 逐步聚合-自由基共聚合-水分散流程圖 3乳液性能 乳液性能主要體現在乳液粒徑的大小和乳液靜置穩定性、熱穩定性方面。傳統pu和pua乳液性能以及其影響因素已經被廣泛地討論,對于fpua乳液而言,關心的焦點即是氟的引入對乳液粒徑和穩定性的影響趨勢和程度。 汪江節等[7]研究結果表明,在單體投料比、親水基團含量、中和度以及分散工藝參數相對不變的情況下,隨著氟含量的增加,所制備的乳液粒徑迅速增大,氟含量達到一定程度,乳液變得不穩定,如圖4[7]所示。
圖4 氟含量對乳液粒徑的影響 這與氟的強烈的疏水性有關。hyejinlim等人[4]也有相同的結論,但可以肯定的是,通過調節親水基團和氟含量,可以獲得相對穩定的fpua乳液,前者[7]通過透射電鏡(tem)的研究還表明,所制備的乳液粒子具有明顯的核殼結構。 4膠膜的結構與性能 對于傳統pua乳液膜,表面結構富含pu鏈段。而對于fpua乳液膜,不同的表征手段均表現出同一結果,那就是氟元素具有強烈的表面富集性,而且對乳液膜的相分離結構產生一定的影響。 hyejinlim等人[4]對制備的乳液膜的接觸角進行測量,結果表明,相當低的含氟量即可以賦予膜表面相當低的表面能。minjiang等人[6]則應用f19核磁共振(f19nmr)對制備的樣品進行表征,證明了化合物中氟的存在,并且樣品中氟的元素分析結果表明了一個事實,那就是實測的氟含量遠低于樣品的理論氟含量,這是因為部分丙烯酸酯封端的pu大分子單體和氟化丙烯酸酯之間的自由基共聚競聚率不同[11]。陳建兵等[5]分別用表面紅外和透射紅外對所制備的fpua乳液膜結構進行了表征,結果顯示,樣品中的羧酸鹽和氨基甲酸酯段被排斥出材料表面,這歸因于材料表面氟的富集;而羧酸鹽和氨基甲酸酯段為親水性較強的鏈段結構,它們在材料表面含量的減少對材料的防水性的提高具有很大的意義。 minjiang等人[6]還對乳液膜的斷面掃描電鏡(sem)相片進行了比較分析,得出的結論是隨著氟含量的增加,乳液膜的整體相分離程度隨之增大,這是因為氟化鏈段,其他軟段、硬段之間的化學結構的較大差異而產生的較高的不相容性。此外,楊乘程等人[12]則采用了共混的方法制備了氟改性pua膜,具體過程是以全氟辛酸銨/十二烷基硫酸鈉為復合乳化劑,過硫酸銨為引發劑,合成了丙烯酸丁酯與甲基丙烯酸-2-(全氟壬烯氧基)乙酯共聚乳液,隨后與普通pua乳液進行共混改性,所制備的氟化pua膜表面疏水性也明顯增強。一篇德國專利[13]也報道了一種電子設備專用保護涂料,該涂料的主要組成由n-次甲基全氟硫胺丙烯酸(酯)以及n-次甲基全氟硫胺烷醇和異氰酸酯的反應物組成,對電路板和薄板基材有很好的防護效果。 相當多的文獻[14-17]應用其他表征手段如表面能譜(xps)、原子力顯微鏡(afm)、差熱分析(dsc)等對氟化pu樣品進行檢測,結果也證明了氟的引入對材料性能的影響,而這些影響趨勢都是一致的。 5結語 市場對高性能新型環保涂料強勁的需求使得對傳統水性涂料改性的課題被廣泛地研究[18-19]。其中氟化聚氨酯-丙烯酸酯乳液以其優異的性能已經引起廣泛興趣和重視,一系列的研究被快速發展起來,就國內而言,目前對fpua乳液的研究已有一定的深度和成果,但仍然有待進一步深入。就工藝方面而言,制備工藝還不夠全面,氟基團的引入手段單一。缺乏不同氟基團引入方式制備的fpua乳液進行比較;對傳統pua乳液不同的聚合工藝的優劣之處有系統的比較和評價[9,20,21],而對于fpua乳液則缺乏類似的研究。就性能方面而言,關于乳液性能,目前的報道僅對乳液粒徑及其分布作了常規的表征,并對比了氟基團的引入對乳液粒徑及分布的影響,但還缺少對乳液粒子中氟鏈段的分布狀態及其理論依據進行研究;對于乳液膜性能方面,除了氟的表面富集特性外,對聚氨酯鏈段和丙烯酸酯鏈段的相態分布沒有詳細的闡述。 氟化聚氨酯-丙烯酸酯乳液發展速度非常迅速,可以預見的是,今后fpua乳液及其相關涂料品種的發展將朝著低氟含量、高固含量和交聯型的方向進行。 |







