0前言 單組分濕固化[GuHua]聚氨酯[JuAnZhi]由于施工簡便、施工范圍寬、涂膜性能優良,在國防、基建、化工、防腐、電氣絕緣、木器等各方面都得到了廣泛的應用,是極具發展前途的品種[1]。但是濕固化[GuHua]聚氨酯[JuAnZhi]受環境影響[YingXiang]較大,干性普遍較差。改善了涂膜的干燥[GanZao]速度[SuDu],提高了涂膜的硬度,但降低了涂膜的柔韌性[2-3];或者是另加助劑催干,這又會帶來配料麻煩或降低貯存穩定性[4-5]的問題。本文選用柔韌性較好的聚醚多元醇和羥基丙烯酸樹脂[ShuZhi]為羥基組分,與TDI進行反應[FanYing],制備一種快干型單組分濕固化[GuHua]聚氨酯[JuAnZhi]柔性,研究了樹脂[ShuZhi]選擇、—NCO含量、催化劑等對涂膜綜合性能的影響[YingXiang],并著重探討了影響[YingXiang]濕固化[GuHua]聚氨酯[JuAnZhi]快干的各種因素。 1實驗部分 1。1主要原料 聚醚三元醇N-303(羥值450~500mgKOH/g)、聚醚二元醇N-204(羥值270~290mgKOH/g)、羥基丙烯酸樹脂[ShuZhi](羥值120~130mgKOH/g):工業級,廣州文龍化工有限公司;TDI(80/20):工業級,進口產品;二甲苯、乙酸乙酯、環己酮:氨酯級,廣州石化公司;苯甲酰氯:分析純,天津化學試劑廠;錫類催化劑:化學純,天津市福晨化學試劑廠;叔胺類催化劑、環烷酸鹽、異辛酸鹽類催干劑,苯甲酸三乙酯、鄰苯二甲酸二辛酯(DOP)、乙二醇乙醚乙酸酯:工業級,廣州市天河東圃化工城。 1。2反應[FanYing]原理 TDI和聚醚二元醇、聚醚三元醇及多羥基丙烯酸樹脂[ShuZhi]反應[FanYing]生成端基為—NCO的預聚物,見圖1。 1。3實驗步驟 將準確計量好的復合聚醚、羥基丙烯酸樹脂[ShuZhi]分別在100~110℃抽真空干燥[GanZao]2h,降溫至70℃以下,將復合聚醚轉移到帶有溫度計和攪拌器的四口燒瓶中,再依次加入酸性阻聚劑、二甲苯和TDI,混合均勻后加入錫類催化劑,在85℃下恒溫反應[FanYing]2h,降溫至60℃以下,加入環己酮、乙酸乙酯、羥基丙烯酸樹脂[ShuZhi],在70℃下反應[FanYing]約1h后,每隔0。5h取樣,用二正丁胺-鹽酸[2]法滴定直到異氰酸酯基的質量分數[w(NCO)]接近或達到理論值時,停止反應[FanYing],降至室溫后加入苯甲酸三乙酯、復合催化劑、DOP、乙二醇乙醚乙酸酯,密封備用。合成的濕固化[GuHua]聚氨酯[JuAnZhi]為無色或微黃色透明液體。
圖1端基為—NCO的預聚物的合成示意圖 1。4產品的性能 濕固化[GuHua]聚氨酯[JuAnZhi]性能檢測結果列于表1。 表1聚氨酯[JuAnZhi]性能測試結果
2結果與討論 聚氨酯[JuAnZhi]的干燥[GanZao]通常需要考察表干和實干。前者主要是由于溶劑[RongJi]的揮發,使漆膜在無溶劑[RongJi]或溶劑[RongJi]較少的情況下通過表面的物理結合和化學交聯的作用達到的一種不粘手狀況。后者指的是固化[GuHua]反應[FanYing]完全,包括—NCO與H2O的反應[FanYing]及漆膜的氧化聚合等,達到漆膜物理性能處于基本穩定的狀態。對于一選定的預聚物體系,加快的干燥[GanZao]速度[SuDu],主要是加快溶劑[RongJi]的揮發速度[SuDu]和加速固化[GuHua]反應[FanYing]速度[SuDu]。 濕固化[GuHua]主要基于含—NCO端基的預聚體與空氣或基材中水氣反應[FanYing]交聯固化[GuHua]成膜,主要反應[FanYing]如圖2所示。 2。1—NCO質量分數對聚氨酯[JuAnZhi]濕固化[GuHua]快干的影響[YingXiang] 聚氨酯[JuAnZhi]的性能在一定程度上取決于選用的反應[FanYing]物的分子結構。本文選用柔韌性好的聚醚多元醇與TDI反應[FanYing]作為主鏈。一般地,選用二官能度的聚醚多元醇,所得聚氨酯[JuAnZhi]涂膜的彈性好、斷裂伸長率高,但拉伸強度、硬度較低;選用三官能度的聚醚多元醇所得的聚氨酯[JuAnZhi]涂膜的拉伸強度、硬度較高,而彈性、斷裂伸長率較低,這是因為三官能度的引入,與TDI形成的交聯更密集,即構成立體交聯結構的鏈段變得更短。實驗中控制二官能度聚醚∶三官能度聚醚=3。5∶1,n(—NCO)∶n(—OH)=1。8∶1,通過選用羥值不同的聚醚多元醇,得到—NCO含量不同的預聚物。在20℃、相對濕度(RH)80%下,其所對應涂膜的干燥[GanZao]時間的測定結果見表2。表2中—NCO值為25%固含量時測定。 圖2濕固化[GuHua]化學反應[FanYing]過程
由表2可以看出,當反應[FanYing]終點—NCO質量分數越大時,預聚物濕固化[GuHua]的表、實干速度[SuDu]越快;而反應[FanYing]終點—NCO質量分數越小時,表、實干速度[SuDu]變得很慢。例如,選用N204/N303的混合聚醚多元醇,反應[FanYing]終點w(—NCO)相對較高,表、實干燥[GanZao]速度[SuDu]比其他的復合聚醚快。這是因為—NCO質量分數越大,氨基甲酸酯硬段含量相應提高,分子鏈上極性基團的數目增大,不僅在分子內形成強的氫鍵,溶劑[RongJi]一旦揮發,就可達到表干,而且極性基團很容易和水分子之間形成氫鍵,容易結合空氣中的水分,可以使—NCO較快與水氣交聯固化[GuHua]形成縮脲在較短時間內達到實干。 由于羥基丙烯酸樹脂[ShuZhi]的耐黃變、耐候性較好,又加入了柔韌性好的羥基丙烯酸樹脂[ShuZhi]改性,測試結果如表3所示。 表2—NCO質量分數對聚氨酯[JuAnZhi]性能的影響[YingXiang]
表3羥基丙烯酸樹脂[ShuZhi]對干燥[GanZao]時間及性能的影響[YingXiang]
實驗結果表明,加入了10%的丙烯酸樹脂[ShuZhi]的聚醚型聚氨酯[JuAnZhi]除了耐黃變性、耐候性有了較大的改善外,拉伸強度和斷裂伸長率均有所提高,實干時間縮短,但表干時間延長,這是因為羥基丙烯酸樹脂[ShuZhi]除了形成氨基甲酸酯硬段,由于自身提供的軟硬段BA、MMA使得性能改善,而且引入的—COO極性基團,容易吸濕形成氫鍵,有利于固化[GuHua]反應[FanYing]的完成。 2。2溶劑[RongJi]對濕固化[GuHua]聚氨酯[JuAnZhi]快干的影響[YingXiang] 由于在聚氨酯[JuAnZhi]的合成、施工階段,常按要求加入一定量的溶劑[RongJi]來調整黏度、改善的流平性能,因此,可以通過調整溶劑[RongJi]的揮發速度[SuDu],來改善涂膜的干性。用揮發性和溶解能力不同的幾種溶劑[RongJi],考察其對涂膜干燥[GanZao]速度[SuDu]的影響[YingXiang]。保持固含量為25%,在20℃、相對濕度(RH)80%下測定,溶劑[RongJi]對干燥[GanZao]時間的影響[YingXiang]如表4。 表4溶劑[RongJi]對干燥[GanZao]時間的影響[YingXiang]
從表4可以看出,溶劑[RongJi]揮發過慢,涂膜的表干較慢;揮發速度[SuDu]過快,實干變差。這是因為溶劑[RongJi]揮發太快容易在表面結膜,當涂膜的玻璃化溫度Tg比涂膜表面的溫度高一些時,殘留溶劑[RongJi]揮發很困難,并且水氣很難滲透涂膜表面,減慢了中間膜層—NCO基與水氣接觸的機會,致使交聯固化[GuHua]過程變慢。實驗表明,采用二甲苯、乙酸乙酯、環己酮混合溶劑[RongJi]較為理想。因為二甲苯、乙酸乙酯分別屬于中、低沸點的溶劑[RongJi],保證了涂膜適宜的表干時間,而高沸點溶劑[RongJi]環己酮的加入改善了溶劑[RongJi]對樹脂[ShuZhi]的溶解能力,使樹脂[ShuZhi]在干燥[GanZao]過程中一直處于濕膜狀態,有利于—NCO基與水氣交聯固化[GuHua]形成脲、縮多脲,達到實干狀態。 2。3復合催干劑對濕固化[GuHua]聚氨酯[JuAnZhi]快干的影響[YingXiang] 為了避免由于濕固化[GuHua]聚氨酯[JuAnZhi]干燥[GanZao]速度[SuDu]受潮氣和溫度的影響[YingXiang]較大,可以加入非反應[FanYing]性催化劑來改善干性。實驗選用了有機錫、叔胺、異辛酸鹽類進行調節,在20℃、相對濕度(RH)80%下考察膜的干性,其結果見表5。 表5復合催干劑對干燥[GanZao]時間的影響[YingXiang]
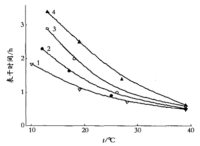
從表5可以看出,有機胺與有機錫復配的催化劑效果較好,而胺類催化劑和異辛酸鹽類復配的催干劑效果較差。這是因為有機錫和叔胺能活化—NCO,使—NCO與羥基、H2O的反應[FanYing]加快,在適當的酸性條件和體系足夠干燥[GanZao](含水量<015%)的前提下,大大改善了濕固化[GuHua]速度[SuDu]卻不影響[YingXiang]貯存穩定性。實驗表明,鈷鹽類催干劑為紫褐色,能顯著促進漆膜的表干,但加入后預聚物的溶液顯色,而鋯、鉛、稀土鹽多加容易使溶液變渾濁,少加則起不到改善干性的效果,這是因為鹽類催干劑溶解性較差,容易析出。由于鹽類催干劑催化聚合是利用過渡金屬的變價捕獲氧,形成過氧化物再分解釋放質子,從而活化CC鍵,形成過渡金屬氧化物橋聯碳鏈的交聯結構。當預聚物含CC雙鍵較多時,固化[GuHua]速度[SuDu]較快。實驗發現,鹽類催干劑的加入在一定程度上導致漆膜變脆,彈性變差,特別是鉛鹽的加入更為明顯。 2。4其他因素對濕固化[GuHua]聚氨酯[JuAnZhi]快干的影響[YingXiang] 漆膜的干燥[GanZao]時間與環境因素(例如溫度、濕度等)有密切關系。綜合前面對樹脂[ShuZhi]、催化體系和溶劑[RongJi]的優化實驗,選用N-204、N-303和丙烯酸樹脂[ShuZhi]作為羥基組分的預聚物,用叔胺和有機錫復配的催化劑,來進行考察。溫度和濕度對表干、實干的影響[YingXiang]實驗結果如圖3、圖4所示。
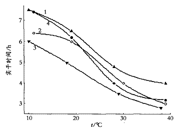
1—相對濕度為45%;2—相對濕度為64% 3—相對濕度為80%;4—相對濕度為98% 圖3表干時間隨濕度和溫度變化的曲線 由圖可知,在其他條件不變時,隨著溫度的升高,涂膜表干,實干速度[SuDu]加快;在其他條件不變時,隨著濕度的增大,表干速度[SuDu]變慢,而實干速度[SuDu]先變快后變慢。這是因為溫度高溶劑[RongJi]揮發速度[SuDu]加快,與水的交聯固化[GuHua]反應[FanYing]速度[SuDu]加快,所以表、實干燥[GanZao]速度[SuDu]均變快;濕度增大,有利于涂膜吸收水氣完成固化[GuHua]反應[FanYing],實干變快,但是濕度太大涂膜易吸濕而干性變差。由于溶劑[RongJi]大部分揮發完即可達到表干,濕度增大反而不利于溶劑[RongJi]揮發,且表面容易吸濕,表干速度[SuDu]減慢。 酸性阻聚劑的加入有利于阻止預聚物凝膠,阻礙了—NCO與不慎進入的水分的反應[FanYing],但是加得太多,濕固化[GuHua]速度[SuDu]就會受到影響[YingXiang]。一般體系pH值控制在5~6之間。另外,風速大,光照強,干燥[GanZao]快。加入親水的助劑有利于改善干性。總之,影響[YingXiang]濕固化[GuHua]聚氨酯[JuAnZhi]干燥[GanZao]速度[SuDu]的因素有很多,只有全面考慮各方面的影響[YingXiang],才能達到滿意的效果。
1—相對濕度為45%;2—相對濕度為64% 3—相對濕度為80%;4—相對濕度為98% 圖4實干時間隨濕度和溫度變化的曲線 3結語 采用二、三官能度聚醚與多羥基的丙烯酸樹脂[ShuZhi]m(N204)∶m(N303)∶m(丙烯酸樹脂[ShuZhi])=3。5∶1∶1和TDI反應[FanYing],控制n(—NCO)∶n(—OH)=1。8∶1合成了濕固化[GuHua]型聚氨酯[JuAnZhi]。反應[FanYing]終點—NCO含量約為2。5%,以二甲苯、乙酸乙酯、環己酮為混合溶劑[RongJi],固含量為25%時,黏度較小,流平性好,CO2逸出時涂膜無氣泡,表干和實干較平衡。以苯甲酰氯作為酸性阻聚劑,保持體系pH值為5~6,用叔胺和有機錫復配的催化劑。合成的濕固化[GuHua]聚氨酯[JuAnZhi]除了柔韌性、強度、耐候性等綜合性能滿足要求外,而且產品具有較好的干性、貯存穩定性好、顏色較淺,為無色或淺黃色透明液體。 |








